Pieces Detachees congélateur armoire BRANDT ULN2221
Détail appareil
BRANDT
congélateur armoire
ULN2221
Détail de la demande:
Bonjour,
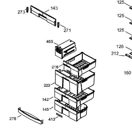
Je suis à la recherche de deux pièces pour mon congélateur armoire ;
1)- une poignée de porte
2)- le bac à glaçons avec démoulage automatique.
Merci de votre réponse.
Je suis à la recherche de deux pièces pour mon congélateur armoire ;
1)- une poignée de porte
2)- le bac à glaçons avec démoulage automatique.
Merci de votre réponse.
| Image | Nom du produit | Référence | Stock | Prix unitaire | Acheter maintenant |
|---|---|---|---|---|---|
|
Poignée blanche Entraxe 20.8cm | 211.020 | EPUISE | 0 |
| Image | Nom du produit | Référence | Stock | Prix unitaire | Acheter maintenant |
|---|---|---|---|---|---|
|
BAC A GLACONS (repère 485) | 46X5437 | Livré chez vous sous 9 à 12 jours | 54.38 | Ajout au panier |



